Основные неисправности и способы их устранения
Если двигатель трактора Т-74 чрезмерно греется во время эксплуатации (основной причиной является нагревание масла в картере):
- Засорилось межреберное пространство (следует остановить двигатель и очистить его);
- Засорилась защитная сетка вентилятора (следует ее очистить);
- Слабое натяжение или обрыв ремня вентилятора (необходимо откорректировать его положение или заменить);
- Нехватка или чрезмерное количество смазочного материала (долейте или слейте его);
- Слишком большая нагрузка на мотор.
Следующие поломки могли привести к тому, что мотор не выдает необходимую мощность:
- Засорен фильтр топливной системы;
- Форсунки могут быть засорены или неисправны;
- Выход из строя топливного насоса.
Устройство Т 74
При создании ДТ 74 брали за основу тракторные агрегаты Т-75, ДТ-54. Рама агрегата швеллерная, швеллеры продольного типа соединяются при помощи бруса спереди, ось соединяет их сзади.Брусья поперечного крепления соединяют швеллеры по центру рамы.Спереди рамы установлен мотор, сзади установлена кабина. Система сцепления двухдисковая. Коробка передач сделана с механическим переключением, предусмотрено 6 ступеней передач. Этой коробкой управляют два рычага:
| Рычаг | Первый | Второй |
| Нейтральная передача | + | + |
| Рабочие передачи | + | — |
| Повышенные передачи | + | — |
| Передача движения назад | — | + |
| Передачи движения вперед (3 шт.) | — | + |
При выключенной передаче, сначала включаем ее, а потом включаем группу передач.

Достоинства и недостатки
Трактор Т-74 создавался специально для сельскохозяйственных целей. Гусеничная база обеспечивала машине отличное сцепление с грунтом, что обеспечивало неплохую проходимость даже по сложным и влажным грунтам.
Ширина траков обеспечивало удельное давление на грунт в 0,42 килограмма на сантиметр. Эта особенность позволяла использовать машину даже на заболоченной местности.
Трактор Т-74
В пользу манёвренности трактора говорит тот факт, что техника могла разворачиваться двумя способами: силовым и кинематическим. В первом случае разворот осуществлялся в результате снижения давления масла, во втором – при помощи коробки передач.
В плане расхода горюче-смазочных материалов, Т-74 и его модификации оказались на высоте. Отсутствие сложных узлов и механизмов позволяло проводить ремонтные работы в полевых условиях, что значительно снижало простой техники. Учитывая, что трактора производились во времена Советского союза, проблем с запасными частями не возникало.
Некоторые модели Т-74, используются и в настоящее время. По своим техническим характеристикам, эти старички сильно проигрывают современным тракторам. Но фермеров подкупает низкая стоимость машин и взаимозаменяемость деталей.
Имеются у техники и существенные недоработки. Несмотря на систему холодного запуска, завести зимой двигатель весьма проблематично. Недаром харьковские инженеры рекомендовали использовать трактор Т-74 только в регионах с умеренным климатом.
В кабине полностью отсутствует звукоизоляция. Комфортных условий тоже не наблюдается. Благодаря хорошему тяговому усилию, трактор неплохо справляется с пахотой, но эффективность работы с другим навесным оборудованием, вызывает большие сомнения.
Кроме того, трактор проблематично перегонять на другое место работы, сказывается низкая транспортная скорость. Кроме этого, отмечается быстрый износ трущихся деталей и механизмов. Почти все узлы трактора взаимосвязаны, поэтому некорректная работа одного из них неизбежно отражается на всех остальных.
https://www.youtube.com/watch?v=G5P7VHhpiaI
Внимание, только СЕГОДНЯ!
Трактор Т-74 — технические характеристики, описание, фото бульдозера
Трактор Т-74 – гусеничная сельскохозяйственная машина для обработки почвы в зонах с умеренным климатом. В агрегате с навесным и прицепным оборудованием может применяться для мелиорации, посадки и уборки с/х культур, а также на дорожных, строительных и транспортных работах.
Устройство трактора
Трактор оснащен дизельным четырехцилиндровым двигателем с камерой сгорания вихревого типа. Расположен он на передней части тракторной рамы.
Рабочие механизмы – навесная гидравлическая система с масляным баком. На моделях поздних выпусков установлен модернизированный навесной механизм с телескопическими нижними тягами.
Коробка передач у машины шестиступенчатая, механическая, с блокировкой системы управления. Обеспечивает 2 передачи заднего и 6 переднего хода. Муфта сцепления сухая, постоянно замкнутая, двухдисковая.
Завод-изготовитель
За 21 год (с 1962 по 1983 г.) с конвейеров Харьковского завода сошло более 880 тыс. с/х. машин этой марки. Т-74 был разработан на базе Т-75, основное различие между этими агрегатами – усиленная тракторная рама 74-й модели, снабженная более тяжелым чугунным передним брусом. Трактор Т-74 изготавливался в 5 вариантах: Т-74-С1/ С2/ С3/ С4/ С9.
Модификации
Последующие модификации – унифицированные между собой гусеничный трактор Т-150 и колесный Т-150К. Это марка скоростных универсальных машин, имеющая незначительные различия в конструкции ходовой части и трансмиссии.
Технические характеристики трактора Т-74
| Двигатель | СМД-14А – 75 л. с. |
| Масса | 6070 кг |
| Расход топлива при рабочей мощности | 252 г/кВт*ч |
| Трансмиссия | механическая |
| Тормоза | бортовые |
| Максимальная скорость | 11,6 км/ч |
Техническое обслуживание
Для того чтобы бульдозер Т-74 исправно работал и ТО не свелось к бесконечным ремонтам агрегата, при эксплуатации необходимо выполнять определенные процедуры:
- перед запуском двигателя проверить наличие воды в радиаторе и масла в картере;
- после обкатки сменить масло в трансмиссии, двигателе и прочих механизмах;
- при работе поддерживать температуру масла и воды не выше 95° С;
- использовать только подходящее данной модели масло и топливо.
Где купить?
Несмотря на то, что Т-74 изготавливался в Украине, купить его можно не только на «исторической родине», но и в любой точке постсоветского пространства. Обусловлено это его популярностью, массовым распространением и отличными эксплуатационными данными. Так же обстоит дело и с дополнительными деталями, запчасти к нему предлагают многие тракторные заводы, частники и продавцы спецтехники.
Аналоги
Аналогом этой модели можно назвать ВТ-150 (Волгоградский завод), он снабжен схожей конструкцией, выполняет все те же функции и имеет одинаковый тяговый класс.
Описание и назначение
Основной сферой применения трактора Т-74 являются сельскохозяйственные работы, в том числе уборка урожая при помощи прицепных, полунавесных и навесных машин. Трактор рассчитан на сплошную обработку грунта, посев и уборку урожая, дорожно-монтажные и строительные задачи, буксирование массивных грузов, а также тяжелых бетонных конструкций. Все эти задачи трактор способен осуществлять в труднодоступных условиях – там, где не проедет ни один легковой внедорожник. Высокая производительность и хорошая ремонтопригодность сделали машину универсальной и весьма востребованной на всей территории СССР. Трактор отлично себя зарекомендовал в государственном секторе экономики, а после 1991 года стали активно закупать частные организации, которые успешно зарабатывали на аренде подобного рода техники. Т-74 – многофункциональный трактор, потенциал которого можно было использовать и в поисково-спасательных операциях – например, при растаскивании завалов и разрушений городской инфраструктуры.
Трактор т 74 — возможности трактора, технические характеристики

Трактор т 74 является одной из моделей третьего тягового класса, которые изготавливали в СССР. Харьковский тракторостроительный завод еще в 1962 году поставил на конвейер выпуск модели, которая объединила в себе модернизированные версии Т-75 и ДТ-54.
Возможности трактора
Технические характеристики рассматриваемой машины зависят непосредственно от модификации. Отметим, что трактор т 74 можно встретить в одном из пяти видов. Столько разновидностей этого аппарата удовлетворяют спрос фактически любой отрасли, где он может активно эксплуатироваться.
В любом случае, машины рассматриваемого типа оснащают:

- мощным (75 лошадиных сил) четырёхцилиндровым двигателем СМД-14 А;
- топливным баком, способным вместить в себя 218 литров (расход 195 г/л.с. в час);
- просторной кабиной;
- шестиступенчатой коробкой передач;
- сбалансированной подвеской;
Вес трактора составляет 5,9 тонн, следовательно, сложно назвать сельскохозяйственную технику данного плана малогабаритной и легкой. Отдельного внимания достойна кабина. Благодаря специальному кожушку к трактористу поступает и теплый воздух, к тому же его подачу можно контролировать. Кроме того, кабина оснащена стеклоочистителем ручного типа.
Перед тем, как рассматривать вопрос стоимости, стоит сказать, что, найти в продаже такую модель – весьма проблемно. Ее производство остановлено еще 30 лет назад.
Но, если все-таки необходимо приобрести именно трактор т74, то оптимальным решением будет приобретение поддержанного агрегата у «хорошего» хозяина. На рынке, вы скорее сможете найти запчасти для машины, чем ее в новом состоянии.
В случае чего, будет полезно знать, что у такого трактора есть аналог, который выпускают в Волгограде – это ВТ-150. Он, в принципе, практически ничем не отличается от т 74.
Основные неисправности и способы их устранения
Основная масса проблем в работе Т74 связана с повреждением двигателя с топливной системой, в частности. Они могут связаны как с неправильной эксплуатацией, так и с низкой износоустойчивостью деталей.
Перегрев мотора
Чрезмерное перегревание двигателя может оказаться, как правило, следствием нагревания масла, однако существуют и другие причины.
| Основные причины и методы устранения | |
| Засорение межреберного пространства цилиндров и головок | Остановка и дальнейшая прочистка двигателя |
| Засор защитной сетки вентилятора | Очистка |
| Ослабление или повреждение ремня вентилятора | Заменить или изменить положение для усиления натяжения |
| Дефицит или избыток смазки | Откорректировать количество |
| Большие объемы нагрузок на двигатель | Снизить интенсивность работы |
Потеря мощности мотора
Может наблюдаться снижение мощности двигателя.
| Основные причины и методы устранения | |
| Снижение объемов подачи топлива из-за повреждения тяги управления топливным насосом | Откорректировать тягу управления |
| Загрязнение фильтра очистки горючего | Замена фильтрующего элемента |
| Засорение, повреждение форсунок | Замена, прочистка |
| Нарушение угла подачи топлива | Отрегулировать и восстановить необходимый угол впрыска |
| Загрязнение воздухоочистителя | Проведение очистки, замены |
Неустойчивость работы мотора во время холостого хода
| Основные причины и методы устранения | |
| Проникновение воздуха в систему подачи топлива | Убрать воздух |
| Проблема в пружине холостого хода | Регулировка, замена |
| Повреждение насоса | Ремонт или замена |
Трактор Т-74: технические характеристики
Трактор Т-74 стал продуктов переработки и модернизации тракторов Т-75 и ДТ-54. Основным назначением машины было производство сельскохозяйственных, транспортных и строительных работ. Поскольку устройство кабины трактора не предполагало наличия особенно комфортных условий для водителя, Т-74 разрабатывался и использовался в регионах с умеренным климатом.
Двигатель
Мощность трактора Т-74 обеспечивалась использованием четырехцилиндрового дизельного силового агрегата рядной конструкции СМД-14А. Интересной в двигателе была камера сгорания вихревого типа. Система охлаждения — водяная. Воздухоочиститель циклонного типа соединялся с отсосной трубой, выходящей в систему выхлопных газов. Механизм очищения был построен на способности разреженной выхлопными газами двигателя атмосферы захватывать и уносить частицы пыли.
Масляный радиатор системы смазки отключается в зимнее время специальным переключателем. Основной двигатель снабжен предпусковым бензиновым мотором ПД-10-М-2 с редуктором одноступенчатой конструкции. Устройство обеспечивает пуск силового агрегата при понижении окружающих температур.
Мощность СМД-14А составляет 75 л.с. при частоте вращения коленчатого вала в номинальном значении 1750 об/мин. Максимальное число оборотов в минуту на холостом ходу равняется 1830 и не превышает это значение. Производитель предусмотрел запас крутящего момента двигателя, равный 15 %.
Диаметр цилиндра двигателя составляет 120 мм, ход поршня равен 140 мм. Рабочий объем всех четырех цилиндров — 6,33 литра. Удельный расход топлива силового агрегата не превышает 195 г/л.с.*ч. Степень сжатия — 17. Расход масла двигателя не превышает 3 % от расхода топлива.
Трансмиссия
На тракторах Т-74 устанавливается механическая шестиступенчатая коробка передач, которая управляется с помощью двух рычагов. Некоторые модели оснащаются ходоуменьшителем. Подвеска балансирного типа обеспечивает устойчивость машины.
Рама составлена из двух продольных швеллеров, которые, в свою очередь, соединены передним литым брусом и задней осью. Механизма хода трактора — гусеничная цепь. Для обеспечения безопасности движения и своевременной остановки используются бортовые тормоза. Максимальная скорость передвижения Т-74 — 11,6 км/ч.

Рабочее оборудование и кабина
Трактор Т-74 снабжается раздельно-агрегатной гидронавесной системой с задней навеской и валом отбора мощности. Усилие в гидравлической системе распределяется посредством трехзолотникового распределителя.
Кабина закрытого типа обогревается изнутри. Для удобства водителя устанавливается сиденье с мягкой спинкой. Для обогрева используется теплый воздух от двигателя, который подается внутрь кабины через специальную заслонку. В летнее время заслонку закрывают для отключения отопления. Правое лобовое стекло очищается ручным стеклоочистителем.
Трактор Т-74: габаритные размеры
- длина с навесным механизмом в транспортном положении — 4225 мм;
- длина без навесного механизма — 3825 мм;
- ширина — 1845 мм;
- высота 2325 мм;
- продольная база — 1622 мм;
- ширина колеи (номинальная) — 1435 мм;
- дорожный просвет в самом низком месте (болт бугеля для крепления коробки передач) — 280 мм;
- удельная металлоемкость — 72 кг/л.с.;
- номинальное тяговое усилие — 3 тонны;
- эксплуатационный вес заправленного трактора Т-74 — 5770 кг без противовеса;
- удельное давление на грунт — 0,42 кг/см2.
Получите выгодное предложение от прямых поставщиков:
Особенности техники
Трактор Т-74 относится к третьему тяговому классу гусеничных тракторов. Это означает, что при работе с прицепным оборудованием, тяговая мощность машины составляет 3 000 килограмм.
Грузоподъёмность навесного оборудования равняется 2 000 килограмм. Эти параметры позволяют использовать трактор для сельхоз работ, в строительстве, сферах коммунального хозяйства, в качестве тягача.
Основные узлы и конструкция трактора не отличаются от большинства аналогичных машин. Переднее расположение двигателя, карданный вал, гусеничная база и кабина. Но эта машина заслуживает того, чтобы узнать о ней более подробно.
Трактор Т-74
Двигатель
В качестве силовой установки, трактор Т-74 оснащался четырёхцилиндровым рядным дизелем СМД-14А. Этот двигатель имеет вихревую камеру сгорания и циклонный воздухоочиститель. Мощность двигателя составляет 75 лошадиных сил, расход горючего – 252 г/кВт час. Скорость вращения – 1 700 об/мин.
Машина комплектуется топливным баком, вместительностью 218 литров. Из особенностей двигателя можно отметить систему смазки. Отвечающий за этот процесс масляный радиатор, обладает специальным переключателем, который можно отключать в холодное время года. Для запуска дизельного двигателя, установлен дополнительный бензиновый мотор ПД 10М-2. Для зимы предусмотрена система холодного запуска двигателя.
Трансмиссия
Трактор Т-74 оборудован механической двухпоточной трансмиссией. Это говорит о том, что передача мощности идёт на ходовую часть. Она обеспечивает работу дополнительных агрегатов, с которыми работает трактор.
Шестиступенчатая коробка передач может работать в четырёх режимах. Переключение между режимами происходит при помощи двух рычагов. Первый рычаг разбивает передачи на диапазоны: рабочие, повышенные и нейтральные. Второй, отвечает за переключение скоростей: передние, задние, нейтралка.
Трактор Т-74
Смена режимов происходит за счёт гидравлических муфт. Некоторые машины оборудуются уменьшителем хода. Муфта сцепления – двухдисковая, приводится в действие педалью.
Ходовая часть
Основная база состоит из двух параллельно идущих швеллеров, которые соединены между собой в трёх точках: спереди – цельнометаллический брус, середина – стальные поперечины, задняя часть – ведущая ось.
К раме крепятся гусеничные тележки и основные узлы и агрегаты машины. Эта модель оснащена балансирной системой подвески. Это говорит об отсутствии рессор, но о шарнирном соединении подвески и рамы. Это позволяет машине приспосабливаться к рельефу местности.
Кабина
Рабочее место представляет собой двухместную цельнометаллическую кабину. Два мягких сиденья без изменения конфигурации спинки. Обогрев кабины производится при помощи тёплого воздуха, который идёт от двигателя. Температура регулируется специальной заслонкой. Система вентиляции – естественного типа.
Электрооборудование
Напряжение для работы осветительных приборов и оборудования вырабатывает генератор. Мощность генератора составляет 180 Ватт. Этого хватает для аккумулятора, амперметра, освещения кабины, работы фар, подачи звукового сигнала. Каждый из перечисленных узлов потребляет 12 Ватт электроэнергии.
Технические характеристики:
| Вес | 6 070 кг |
| Габариты: длина/ширина/высота | 3 825/1 845/2 325 мм |
| Колея | 1 435 мм |
| Клиренс | 280 мм |
| Скоростной диапазон | 2,5-11,5 км/час |
Трактор Т-74
Обзор кабины гусеничного Т-74
Кабина – цельнометаллическая и когда-то достаточно герметичная. Поэтому дожившие до сегодняшнего дня экземпляры, скорее всего, будут пропускать ветер и шум. Но удивляться тут нечему. Время неизменно делает свое дело и никого не щадит. И технику в том числе.
Управление практически идентично тому, что было установлено в ДТ-75. Слева находятся контрольные приборы, а непосредственно перед самим трактористом располагаются два длинных рычага – с их помощью машина поворачивает
На полу имеется две педали тормозов с фиксатором стояночного тормоза, и еще одна – включения главной муфты сцепления. Рычаг КППП, реверс, под щитком приборов – рычаги гидравлики.
Что касается комфорта, то это понятие нужно рассматривать не по современным меркам, а по стандартам тех времен.
Двери в тракторе Т-74 – раздвижные. Это весьма удобно. Но, разумеется, только в том случае, если они хорошо «ездят», и их не клинит
Двухместное сидение в этом тракторе достаточно комфортное – мягкое и с подлокотниками. Водитель агрегата сидит с правой стороны.
Вентиляция сетчато-принудительная. Чтобы дополнительно проветрить салон, можно открыть окно. Видимость в кабине – хорошая.
Сельскохозяйственный гусеничный трактор Т-74
Трактор Т-74 предназначен для выполнения основных сельскохозяйственных работ по сплошной обработке почвы и уборке урожая с навесными, полунавесными и прицепными машинами и орудиями на повышенных скоростях.
Может быть использован на дорожных, мелиоративных, строительных и других работах в сельском хозяйстве, а также при перевозке тяжелых грузов на плохих дорогах.
Тяговое усилие на крюке трактора при агрегатировании с различными машинами и орудиями не должно превышать 3000 кг.

Трактор Т-74 выпускался в пяти комплектациях: Т-74-С1 с раздельно-агрегатной гидравлической системой, механизмом навески, основным и тремя выносными гидроцилиндрами; Т-74-С2, то же, что и Т-74-С1, но без основного цилиндра и механизма навески; Т-74-С3 без агрегатов навесной гидравлической системы; Т-74-С4 то же, что и Т-74-С1, но без выносных цилиндров;
Т-74-С9 то же, что и Т-74-С1, но без основного и выносных цилиндров и без механизмов навески.
Изготовитель — Харьковский тракторный завод, начало серийного производства — с 1962 года.
Технические характеристики трактора Т-74
| Тип трактора | гусеничный, сельскохозяйственный, общего назначения |
| Номинальное тяговое усилие, т | 3 |
| Габаритные размеры, мм | |
| ..ширина | 1845 |
| ..высота | 2325 |
| …длина: | |
| ..с механизмом для навешивания орудий (в транспортном положении) | 4225 |
| ..без механизма для навешивания орудий | 3825 |
| Продольная база (расстояние между осями крайних опорных катков), мм | 1622 |
| Номинальная ширина колеи (расстояние между серединами гусениц), мм | 1435 |
| Дорожный просвет (по болту бугеля для крепления коробки передач), мм | 280 |
| Удельная металлоемкость, кг/л.с. | 72 |
| Вес заправленного трактора без противовеса, кг: | |
| ..модификация Т-74-С1 | 5770 |
| ..модификация Т-74-С2 | 5520 |
| ..модификация Т-74-С3 | 5400 |
| ..модификация Т-74-С4 | 5720 |
| ..модификация Т-74-С9 | 5500 |
| Вес заправленного трактора с противовесом в модификации Т-74-С4, кг | 5860 |
| Среднее удельное давление на почву (на проекцию опорной поверхности гусеницы), кГ, см2 | 0,42 |
| Расчетные скорости при движении по стерне без учета буксования при номинальном числе оборотов двигателя, км/ч: | |
| ..на первой передаче | 4,51 |
| ..на второй передаче | 5,32 |
| ..на третьей передаче | 6,53 |
| ..на четвертой передаче | 8,01 |
| ..на пятой передаче | 9,46 |
| ..на шестой передаче | 11,6 |
| ..при заднем ходе | 5,65 |
| ..на первой замедленной ходоуменьшителя | 2,53 |
| Марка двигателя | СМД-14А |
| Тип двигателя | 4-цилиндровый, четырехтактный дизель с вихрекамерным смесеобразованием и водяным охлаждением |
| Номинальная мощность при 1700 об/мин, л.с. | 75 |
| Запас крутящего момента, %, не менее | 15 |
| Максимальное число оборотов холостого хода в минуту, не более | 1830 |
| Диаметр цилиндра, мм | 120 |
| Ход поршня, мм | 140 |
| Рабочий объем цилиндров, л | 6,33 |
| Удельный расход топлива двигателя, г/э. л. с. ч. | 195 |
| Минимальное устойчивое число оборотов холостого хода в минуту, не более | 600 |
| Степень сжатия | 17 |
| Порядок работы цилиндров | 1 — 3 — 4 — 2 |
| Направление вращения коленчатого вала (если смотреть с переднего конца коленчатого вала) | Правое |
| Расход масла в % к расходу топлива (с учетом замены смазки), не более | 3 |
| Топливный насос | Секционный четрехплунжерный, правого вращения |
| Регулятор | Центробежный всережимный |
| Масса двигателя, кг | 675 |
| Емкость топливного бака, л | 218 |
| Пуск двигателя | Пусковым двигателем ПД-10М-2 с электростартером |
Устройство трактора
Трактор Т-74 оснащался дизельным мотором с четырьмя цилиндрами. Он выдает мощность семьдесят пять лошадиных сил. Рабочий объем 6,3 литра. Двигатель имеет воздухоочиститель циклонного типа и вихревую камеру сгорания. Расход топлива 252 грамма на киловатт в час. Емкость топливного бака 218 литров. Охлаждение водяное.
Одной из особенностей трактора является система смазки, которую можно отключать при отрицательных температурах. Для этого есть специальный переключатель.
Кроме того, для холодного периода года имеется система зимнего запуска. В целом для запуска двигателя установлен бензиновый мотор, который заводится на бензине. Благодаря этому даже при отрицательных температурах трактор заводится без особых усилий.
Трансмиссия двухпоточная механическая. Коробка передач шестиступенчатая с четырьмя режимами. Они переключаются посредствам двух рычагов. С помощью первого рычага выбирается диапазон скоростей (нейтральная, рабочая или повышенная). Второй служит для выбора передней, нейтральной или задней скорости.
База трактора основана на двух швеллерах, расположенных параллельно друг другу. В передней части они соединены между собой металлическим профилем, по центру – стальной поперечиной, а сзади – осью. Данная ось является ведущей.
Используется балансирная подвеска. Нет рессор. Рама соединена с подвеской шарнирами. За счет этого трактор может передвигаться по различной местности.
Цельнометаллическая кабина вмещает двух человек. Сиденье мягкое, но спинка не регулируется. Вентиляция естественная. Обогревается кабина за счет теплого воздуха, идущего от двигателя.
Общая информация о гусеничном тракторе Т-74
Масса агрегата, как для трактора, относительно небольшая – около 6 тонн. И это, несомненно – плюс данной модели. Проходимость Т-74 достаточно высокая, что для такого типа техники является действительно важным параметром.
“Проходимость трактора Т-74 даже выше, чем у модели ДТ-75. Этого удалось достичь благодаря умеренной массе агрегата, а также гусеницам, которые не втыкаются в грунт и снег”.
Иван Зенкевич, автор Youtube-канала «Иван Зенкевич PRO автомобили»
Т-74 уверенно чувствует себя в открытом заснеженном поле даже при подъемах на возвышенности
Поворотный механизм – дисковый. Простой и надежный. Еще одним плюсом данного механизма можно считать простоту в ремонте. В целом, трактор Т-74 по праву можно считать успешным проектом СССР.
Трактор Т-74: технические характеристики
Габариты гусеничного трактора следующие:
- длина 3,8 м без навесного механизма;
- длина 4,2 м с механизмом для навески агрегатов;
- ширина 1,8 м;
- высота 2,3 м;
- продольная база 1,6 м;
- ширина колеи 1,4 м;
- дорожный просвет 0,28 м.
Вес заправленного трактора составляет от 5,4 до 5,8 тонны в зависимости от модификации.
Скорость может достигать двенадцати километров в час при движении вперед. При включенной задней передаче скорость не превышает шести километров в час.
Трактор Т-74 – хороший пример надежной и мощной техники. Он по своим характеристикам может превзойти некоторые более новые модели. Благодаря своим хорошим показателям он использовался во многих отраслях деятельности на протяжении нескольких десятилетий.
“
Особенности и отличия
О чем статья:

Т-74 — гусеничный советский трактор 3го тягового класса. Начало выпуска стартовало в 1962 году на Харьковском тракторном заводе (ХТЗ). Производство тракторов Т-74 прекратилось в ноябре 1983 года. За это время производитель успел выпустить более 800 тыс. единиц.
Технические характеристики трактора Т74 были ориентированы на сельскохозяйственные работы в умеренном климатическом поясе с возможностью обработки грунтов с высоким содержанием воды, в том числе на заболоченных местностях.
Гусеничный трактор Т-74 конструировался для выполнения основных работ обработки почвы и уборки урожая с навесной, полунавесной и прицепной техникой. Может быть использован на дорожных, мелиоративных, строительных и других работах в сельском хозяйстве, а также при транспортировке тяжелых грузов на плохих дорогах.
Трактор Т-74 — классическая по компоновке и комплектации модель гусеничной спецтехники широкого назначения с сельскохозяйственным уклоном.
- Конструкция Т74 предусматривает возможность работы с широкозахватными, навесными и прицепными агрегатами, предназначенными для производительной обработки почвы, проведения посевных и уборочных работ.
- Сфера применения базового трактора и его модификаций включает в себя промышленное, дорожное и гидротехническое строительство, транспортировку тяжелых грузов в условиях сезонного бездорожья.
- Базовая модель Т-74 неоднократно подвергалась модернизации, но основные технические и эксплуатационные характеристики сохранились в изначальном виде.
Гусеничное полотно у трактора Т-74 стандартной ширины гарантирует маневренность тракторного агрегата и высокую проходимость на заболоченных участках, а также транспортировку тяжелых прицепов по переувлажненным полевым дорогам.
Подвеска
Уделили внимание и комфорту подвески, использовав в конструкции балансирные каретки со спиральными пружинами. Каретки получили возможность покачиваться на осях рамы в вертикальной плоскости
В сочетании с мягким двухместным сидением, установленным в кабине трактора Т-74, это улучшало условия труда механизатора
Каретки получили возможность покачиваться на осях рамы в вертикальной плоскости. В сочетании с мягким двухместным сидением, установленным в кабине трактора Т-74, это улучшало условия труда механизатора.
Обогрев кабины осуществлялся за счёт отбора тёплого воздуха из установленного в мотоотсеке специального кожуха.
Количество поступающего воздуха регулировалась заслонками. Несмотря на то что дизайн кабины уже не соответствует сегодняшним представлениям об эргономике, рабочее место оператора заслуживает хорошей оценки.
Технические характеристики Т 74
- Встроен двигатель СМД-14А, мощность 75 л.с.
- При движении агрегата на покрытие грунта оказывается давление в размере 420 грамм на см2.
- Полный вес 5 910 кг.
- Движение агрегата осуществляется со скоростью от 4,5 до 11,6 км за час.
- Объемная вместимость бака 218 литров топлива при полной заправке.
- Габариты 2 325 х 1 845 х 4 225 мм.
- Показатель дорожного просвета 280 мм.
- Колея между колесами составляет 1 435 мм.
Двигатель СМД 14А
Работает на дизельном топливе, камера сгорания – вихревая. Выдаваемое количество оборотов насчитывает 1 830 циклов в минуту. Рабочих цилиндров четыре, установлены в один ряд. Комплектуется циклонным очистителем воздуха, к которому подсоединена отсосная трубка, встроенная в трубу вывода выхлопного газового потока. В отсосной трубе формируется разряженная пыль, которая оседает в бункере воздушного очистителя. Облако пыли соединяется с газами выхлопа, после чего покидает газовую систему техники ХТЗ. В смазочной системе работает масляный радиаторный механизм. Его можно выключить зимой через переустановку переключателя. Запускается СМД 14А при заморозках при помощи предпускового подогревателя. Место крепежа – поверхность коллектора всасывающего типа действия. Устройство для пуска ПД-10М-2 изготавливается с редуктором одноступенчатого вида. Рабочий процесс ведется на бензине.
На фото Т 74 выглядит настоящим раритетом:
Кабина ХТЗ 74
Закрытая кабина установлена на задней поверхности рамы. Внутри установлено сиденье для двух работников, спинка сидения на ощупь мягкая. Обогрев кабины осуществляется через воздуховод от работающего мотора. Обогреваемый поток воздуха движется по кожуху, а внутренним регулятором потока теплого воздуха является заслонка. Летом заслонку закрывают для прекращения подачи теплого потока. Для очищения правого лобового стекла предусмотрен ручной очиститель.
Вид топлива и расход
Мотор работает при сжигании дизельного топлива. Расчет сжигания топлива рассчитывается по формуле: 1 лошадиная сила потребляет 195 грамм горючего за рабочий час. Общий показатель расхода исчисляется 14,6 литрами за час работы.
Технические характеристики
Двигатель
| Характеристики двигателя | |
| Тип | СМД-14А, четырехцилиндровый четырехтактный дизельный |
| Система охлаждения | Водяная |
| Мощность | 75 лошадиных сил (55 кВт) |
| Объем | 6,33 литра |
| Ход поршня | 140 мм |
| Удельный расход топлива | 195 г\л.с.*ч |
| Емкость бака | 218 литров |
| Допустимый расход масла | Максимум 3% от расхода топлива |
| Порядок хода поршней | 1-3-2-4 |
| Компрессия двигателя | 17:1 |
| Направление вращения коленчатого вала, вид спереди | Справа |
| Скорость холостого хода | Максимально 600 оборотов в минуту |
| Максимальное число оборотов | 1830 оборотов в минуту |
| Стартер | Одноцилиндровый бензиновый типа ПД-10М-2 с электростартером |
| Масса двигателя | 675 кг |

Вид топлива и расход
Удельный расход топлива мотора составляет 195 г на лс в час. Для работы используется дизельное топливо. За 1 час работы с умеренной интенсивностью ориентировочно сжигается около 15 литров топлива.

Коробка передач
Трактор оборудован механической коробкой передач с двумя рычагами. Для увеличения скорости вращения и крутящего момента предусмотрено 6 положений КПП и реверс. Минимальная скорость составляет 2,5 км/ч, а максимальная — 11,6 км/ч. Скорость реверса составляет 5,65 км/ч.
Максимальная тяга составляет 29,4 килоньютонов. В некоторых моделях оснащена гидравлической системой.
| Скорость трактора в зависимости от передачи | |
| 1 передача | 4,51 км / ч |
| 2 передача | 5,32 км / ч |
| 3 передача | 6,53 км / ч |
| 4 передача | 8,01 км / ч |
| 5 передача | 9,46 км / ч |
| 6 передача | 11,60 км / ч |
| Реверс | 5,65 км / ч |
Трансмиссия
В тракторе Т74 установлена двухпоточный тип трансмиссии, таким образом осуществляется передача энергии на ходовую часть, что обеспечивает работоспособность навесного или другого оборудования.
Коробка переключения передач предусматривает 6 различных положений и работает в 4 режимах. Процесс выбора режима осуществляется благодаря 2 рычагам. Первый – разбивает передачи на рабочий, повышенный и нейтральные диапазоны. С помощью второго осуществляется переключение между передними, задними и нейтральными скоростями. Смена режима реализуется за счет гидромуфт.
На некоторых моделях предусмотрена установка понижающего редуктора с целью снижения частоты оборотов двигателя для увеличения потенциальной тяги.
Ходовая часть
Раму гусеничного трактора составляет 2 параллельно идущих лонжерона, соединенных между собой в трех местах передним брусом рамы, поперечинами и осью ведущих звездочек спереди, посередине и сзади соответственно. Главной особенностью ходовой части трактора Т74 является прикрепление всех узлов ходовой части на лонжероны. Направляющие колеса посажены на звенья кривошипно-шатунного механизма.
Благодаря особенностям конструкции балансирные каретки могут поворачиваться относительно подшипника цапф, таким образом ход трактора осуществляется с учетом особенностей рельефа местности, стараясь обеспечивать стабильность и комфорт работ.
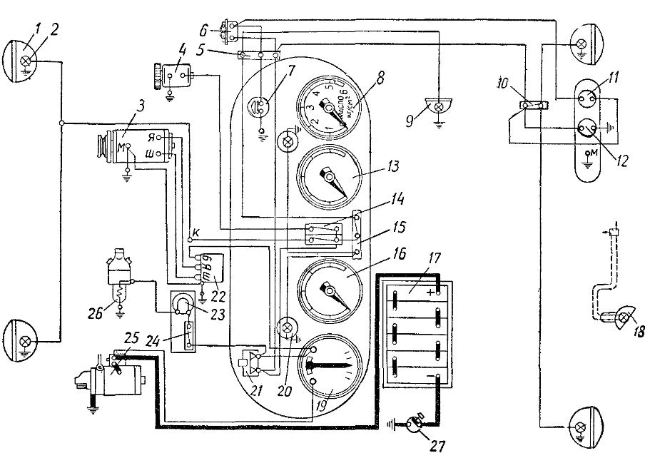
Электрооборудование
Номинальное напряжение оборудования трактора составляет 12В.
Схема электрооборудования
1.Фара. 2. Лампа накаливания. 3. Генератор электроэнергии 180В. 4. Электродвигатель. 5. Переходная трехконтактная панель. 6. Устройство подачи звукового сигнала. 7. Кнопка выключения звукового сигнала. 8. Прибор, измеряющий давление. 9. Лампа для освещения кабины. 10. Выключатель задних фар. 11. Устройство для включения прицепных фар. 12. Устройство для включения переносной лампы. 13, 16. Термометры. 14. Включатель фар спереди. 15. Переключатель ламп освещения кабины. 17. Батарея аккумулятора объемом на 42 амперчасов 18. Лампа. 19. Амперметр. 20. Лампы на приборной панели. 21. Предохранитель. 22. Реле регулятор напряжения. 23. Устройство для контроля температуры спирали. 24. Выключатель для предпускового подогревателя двигателя. 25. Стартер. 26. Предпусковой подогреватель мотора. 27. Включатель массы.
Подводя итог
Изначально упор в конструкции Т-74 делался на ремонтопригодность. А потому встречаются работоспособные машины даже ранних годов выпуска.
Разумеется, узлы и агрегаты на них могут быть заменены на новые. Поэтому обращают не на возраст техники, а на состояние.
Проблемы с запасными частями существуют, эксплуатация некогда популярной модели сопряжена с трудностями. Расход топлива приемлемый для своего времени, по теперешним временам вряд ли можно назвать умеренным.
Если заинтересовало описание трактора Т-74, и проявляете практический, или чисто экономический интерес к истории и устройству, оставайтесь на нашем сайте.
Изучив другие статьи, узнаете как устроен трактор Т-150, как проводится регулировка клапанов Т-25.





































